剑阁县应急管理局关于安全生产行政执法事前公示信息清单的公告

发布日期:2020-06-11    浏览量:次    来源:剑阁县应急管理局   
【 字体: 分享到:

根据国务院办公厅《关于全面推行行政执法公示制度执法全过程记录制度重大执法决定法制审核制度的指导意见》(国办发〔2018〕118号)关于行政执法事前公开要求,现将我局安全生产行政执法事前公示信息公告如下:

一、行政执法主体

剑阁县应急管理局

二、主要从事行政执法工作的人员

何子泓、王  皓、雍兴国、何希亚、蒲皓旻、李  文、

孙继蓉、任霞君、李  军、赵丽华、何黎明、张康林、

鲁翠平、王育良、刘林萍、王凤梧、尹茂霖、唐  璨、

徐晨轩、杨  倩、王  霞、王梦荧、杨兴灿、杜  琳、

严向南、张明月、张 辉(女)

(不含从事防震减灾行政执法工作的人员)

三、行政执法职责权限

负责县级安全生产行政审批受理、审查、决定、送达。按照县政府批复的安全生产监督检查计划,承担工矿、商贸行业安全生产执法工作,依法监督检查相关行业生产经营单位贯彻落实安全生产法律法规和标准情况。承担危险化学品和烟花爆竹安全生产监督管理工作,按照分级、属地原则,依法监督检查相关行业生产经营单位贯彻落实安全生产法律法规和标准情况及其安全生产条件,依法查处违法行为;指导非药品类易制毒化学品生产经营监督管理工作。

四、主要行政执法依据

(一)法律

1.中华人民共和国行政诉讼法

2.中华人民共和国行政处罚法

3.中华人民共和国行政复议法

4.中华人民共和国行政许可法

5.中华人民共和国行政强制法

6.中华人民共和国安全生产法

7.中华人民共和国矿山安全法

(二)行政法规

1.矿山安全法实施条例

2.国务院关于特大安全事故行政责任追究的规定

3.国务院关于预防煤矿生产安全事故的特别规定

4.安全生产许可证条例

5.易制毒化学品管理条例

6.烟花爆竹安全管理条例

7.危险化学品安全管理条例

8.生产安全事故应急条例

(三)地方法规

1.四川省安全生产条例

2.四川省《中华人民共和国矿山安全法》管理办法

(四)部门规章

1.安全生产监督罚款管理暂行办法

2.生产经营单位安全培训规定

3.海洋石油安全生产规定

4.非药品类易制毒化学品生产、经营许可办法

5.注册安全工程师管理规定

6.生产安全事故罚款处罚规定(试行)

7.安全生产行政复议规定

8.安全生产违法行为行政处罚办法

9.安全生产事故隐患排查治理暂行规定

10.非煤矿矿山企业安全生产许可证实施办法

11.生产安全事故信息报告和处置办法

12.安全生产监管监察职责和行政执法责任追究的规定

13.海洋石油安全管理细则

14.特种作业人员安全技术培训考核管理规定

15.安全生产行政处罚自由裁量适用规则(试行)

16.金属非金属地下矿山企业领导带班下井及监督检查暂行规定

17.金属与非金属矿产资源地质勘探安全生产监督管理暂行规定

18.建设项目安全设施“三同时”监督管理办法

19.尾矿库安全监督管理规定

20.小型露天采石场安全管理与监督检查规定

21.危险化学品重大危险源监督管理暂行规定

22.危险化学品生产企业安全生产许可证实施办法

23.危险化学品输送管道安全管理规定

24.安全生产培训管理办法

25.危险化学品建设项目安全监督管理办法

26.危险化学品登记管理办法

27.烟花爆竹生产企业安全生产许可证实施办法

28.危险化学品经营许可证管理办法

29.安全生产监管监察部门信息公开办法

30.危险化学品安全使用许可证实施办法

31.工贸企业有限空间作业安全管理与监督暂行规定

32.化学品物理危险性鉴定与分类管理办法

33.非煤矿山外包工程安全管理暂行办法

34.烟花爆竹经营许可实施办法

35.食品生产企业安全生产监督管理暂行规定

36.冶金企业和有色金属企业安全生产规定

37.烟花爆竹生产经营安全规定

38.安全评价检测检验机构管理办法

39.生产安全事故应急预案管理办法

(五)地方规章

1.四川省行政执法监督条例

2.四川省行政处罚听证程序规定

3.四川省行政复议听证规则

4.四川省实施行政许可规程

5.四川省关于重特大安全事故行政责任追究的规定

6.四川省生产安全事故报告和调查处理办法

8.四川省生产经营单位安全生产责任规定

9.四川省建设项目安全设施监督管理办法  

五、程序

(一)现场检查

~TFURUVEPQD81IP3R4KRKFE.png

(二)行政处罚

立案——调查取证——必要时进行听证——作出处罚决定——执行。

`5(I}(33I$MH3K@HGC@52D8.png

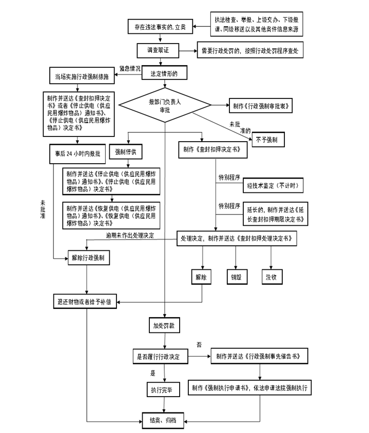
(三)行政强制[[RY]3{QY)TBWDDUX6DB4K9.png

六、救济方式

公民、法人或者其他组织认为具体行政行为侵犯其合法权益的,可以依照《中华人民共和国行政复议法》《中华人民共和国行政诉讼法》的规定提出行政复议申请或者提起诉讼。

 

剑阁县应急管理局

                          2020年6月9日

主办单位: 剑阁县人民政府办公室

建设与维护:广元市电子政务外网运营中心

蜀ICP备06003751号-1 川公网安备 51082302000134号

联系电话:(0839)6666670传真:(0839)6600947 网站标识码:5108230052

官方微信

官方微博

无障碍浏览